基于NCP1351B的脑电采集仪的电源设计
作者:胡叶容,吴 朋,周建芳,罗晓曙
1 引 言
随着全球能源危机的加深,人类节能环保意识不断加强,解决能源的浪费问题需求日趋迫切。世界各国制定相关电子电器产品的待机功耗要求。目前,欧洲委员会和欧洲消费电子制造商协会(EACEC)为消费品制定了法律,要求所有的电源产品的较大空载功耗不得大于0.3 W。
传统的单端反激式电源采用经典的UC3843控制芯片。UC3843是一款脉宽调制型(PWM)芯片。他是固定开关频率,通过改变脉冲宽度来调节占空比。其缺点是受驱动脉冲传输延时的影响,负载变轻时,调节范同变窄。
另外输出端一般要接假负载,以防止空载时输出电压升高。由于上述原因,采用UC3843控制的脑电采集仪电源的待机功耗偏大,无法满足现代的节能要求。
安森美公司推出了绿色节能型芯片NCP1351B,该芯片采用固定峰值电流技术(类似于固定Ton),本文采用该芯片设计的脑电采集仪电源通过降低空载时的工作频率,满足了待机低功耗的要求;输出端不接假负载,输出电压也不会升高,能够提供高稳压、高精度的电源。
2 NCP1351B简介
NCP1351B只需要极小的启动电流(≤20μA),工作功耗小。其完善的保护功能,可以用来设计多种用途的电源:如辅助电源;低待机功耗的脑电采集仪电源;电池充电器等。各管脚的功能简述如下:
FB:反馈输入端。流进该端的电流决定芯片的工作频率。
Ct:定时电容。定时电容容量决定无反馈电流时较大工作频率。
CS:电流检测端。接外部开关管的过电流检测电阻。
GND:地。
DRV:驱动脉冲输出端。接开关管的栅极。
Vcc:电源端。
LATCH:锁定输出端。当该端电压超过VLATCH(一般为5 V),将关闭驱动脉冲。
TIMER:定时器设置端。外接电容,将设置保护电路的动作时间。NCP1351B具有如下独特的特性:
(1)类似固定导通时间(Ton),改变关断时间(Toff)的电流模式控制;
(2)极低的启动电流;
(3)峰值电流补偿,减小变压器的噪音;
(4)可编程峰值电流检测电压,实现功耗的优化;
(5)具有完善的保护功能,包括带滞后特性的欠电压保护(UVLO)、过电流保护(亦称过载保护,OPP)、过热保护(OTP)、输出短路保护、控制环路的开环保护等功能;
(6)轻负载时,增加关断时间(Toff),满足低待机功耗的要求。
3 NCP1351B的关键技术分析
3.1待机工作模式
NCP1351B的待机工作模式基于轻负载时,反馈电流将减小,改变定时电容Ct的充电电压,调节时钟比较器翻转的时间,从而改变工作频率。
从NCP135 1B的反馈输入端FB端流进光藕传递过来的反馈电流。实际上,FB端相对控制地可以等效一个二极管DFB,受控电流源IFB从控制地流出,在RB偏置电阻产生一个负压降。此时,时钟发生器的比较基准电压值大约等于:

在空载或短路时,IFB几乎接近于0,VCLOCK电压达到较高,定时电容的充放电时间将延长,时钟发生器的翻转周期(T)将减小(也就是工作频率增加)。
在峰值电流控制模式下,空载时降低工作频率。工作频率会下降到人耳的可听频段,产生机械振荡,很容易发出音频噪音。NCP1351B通过固定峰值电流检测,在轻载时、频率下降,同时峰值电流大约只有较大峰值的30%,以免变压器发生机械振荡,产生音频噪音,维持良好的待机能耗表现。
3.2负电流检测技术
3.2.1 正电流检测技术的缺点
传统的电流型控制芯片,一般采用正电流检测技术,这种检测技术有以下缺点:
(1)无法调节峰值电流的检测电压,基准电压集成在控制芯片内部;
(2)门电压等于驱动电压减去峰值电流检测电阻(Rsense)上的电压。
如果VCC=7 V,假设满载,此时:

(3)MOS管开通时(由于Ciss存在),在Rsense上会产生一尖峰电压,干扰控制环路,使电源稳定性降低。而负峰值电流检测技术可以解决上面问题。
3.2.2 电路工作原理
电路工作原理描述如下:

(1)当VCS>Vth,电流误差放大器输出低电平,不动作。
(2)当VCS<Vth,电流误差放大器输出高电平,关闭驱动脉冲。
在轻载时,ILp很小,VCS Roffset×ICS。ICS较大值为270μA,通过改变Roffset的阻值,可以减小VCS,调节负峰值电流的检测电压。由于控制地与MOS管的源极相连,所以门电压等于驱动电压。
4 NCP1351B在脑电采集仪电源设计中的应用
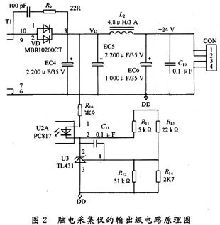
4.1 基于NCP1351B的脑电采集仪电源样机原理图
脑电采集仪是医院中检测病人脑电图的常见的设备,由于病人的到来具有不确定性和间隔性,因此其待机工作时间长,这就要求电源在脑电采集仪空闲时自动进入待机工作模式,一旦开始工作时,迅速进入正常工作状态。要求电源动态响应快,能根据负载情况,自动切换。
基于NCP1351B设计的“绿色节能”脑电采集仪电源样机原理图如图1,2所示。

R1,R2是启动电阻,提供芯片的启动电流。
电源第一次启动时,通过R1,R2和EC2,C8提供工作电源。电源启动后,辅助绕组给芯片供电。由于变压器漏感以及PCB板寄生参数的影响,MOS管关断时会产生很高的尖峰电压。R3,C2,D5组成一个简单的RCD钳位电路,防止M()S管击穿。R4,C5组成一个低通滤波器,有效抑制尖峰电流的干扰。U3(431)提供2.5 V的基准,与U2B构成输出级的电压反馈,通过U2A流过的电流在R上形成反馈电压,构成一个完整的闭环电路,使输出级电压恒定不变。

4.2 实验结果分析
在输入电压220 V时,空载功耗为180 mW;在输人电压100 V时,空载功耗为210 mW。
实验波形如图3所示:
经过测试,基于NCP1351B的脑电采集仪电源样品空载功耗小于300 mW,符合目前电源产品的较大空栽功耗不得大于0.3 W的要求。

5 结 语
本文利用NCP1351B芯片良好的待机能耗和完善的保护功能的优点,简化了脑电采集仪电源的外围电路设计,从而减小体积、降低成本。
实验结果表明基于NCP1351B的脑电采集仪电源的负载效应小、稳压精度高、输出峰峰杂音小,基本上满足现有各种电源的要求。
相关阅读:
- ...2013/09/25 16:49·安森美半导体基于NCP1246和NCP4354低待机能耗电源适配器方案
- ...2013/03/27 10:10·基于NI PXI Express平台的石油管复合挤毁试验机控制与数据采集系统搭建
- ...2012/08/13 15:04·基于NI CompactRIO的太阳能熔炉智能化控制和数据采集系统
- ...2011/12/09 12:19·基于NI LabVIEW的自动割草机
- ...2011/11/28 14:39·基于nRF2401的牲畜信息读写器的研究
- ...2011/10/08 13:45·基于nRF905的LED屏无线通信设计与实现
- ...· Efinix® 全力驱动AI边缘计算,成功推出Trion™ T20 FPGA样品, 同时将产品扩展到二十万逻辑单元的T200 FPGA
- ...· 英飞凌亮相进博会,引领智慧新生活
- ...· 三电产品开发及测试研讨会北汽新能源专场成功举行
- ...· Manz亚智科技跨入半导体领域 为面板级扇出型封装提供化学湿制程、涂布及激光应用等生产设备解决方案
- ...· 中电瑞华BITRODE动力电池测试系统顺利交付北汽新能源
- ...· 中电瑞华FTF系列电池测试系统中标北京新能源汽车股份有限公司
- ...· 中电瑞华大功率高压能源反馈式负载系统成功交付中电熊猫
- ...· 中电瑞华国际在电动汽车及关键部件测评研讨会上演绎先进测评技术
- ...· 华芯微国产汽车芯片门电路系列(篇一)
- ...· 华芯微国产汽车芯片CAN收发器系列(篇一)
- ...· 华芯微国产汽车芯片DC/DC转换器系列
- ...· 华芯微国产汽车芯片DC/DC转换器系列
- ...· 华芯微国产汽车芯片运算放大器系列(篇一)
- ...· 华芯微国产汽车芯片MOSFET 驱动器系列(篇一)
- ...· 数据采集终端系统设备
- ...· 简仪科技踏上新征程








