基于DSP的光伏并网发电系统数字锁相技术
摘要:随着能源危机的进一步加剧和光伏系统并网发电成本的持续降低,光伏并网发电技术的应用越来越广泛。为了实现光伏逆变系统与电网的可靠并联运行,采用了一种基于DSP芯片TMS320C2407A实现数字锁相的方法,并通过实验作了验证,实验结果表明,锁相精度高,稳定可靠。
关键词:光伏;并网;数字锁相
0 引言
在光伏并网发电系统中,需要实时检测电网电压的相位和频率以控制并网逆变器,使其输出电流与电网电压相位及频率保持同步,即同步锁相。同步锁相是光伏并网系统一项关键的技术,其控制精确度直接影响到系统的并网运行件能。倘若锁相环电路不可靠,在逆变器与电网并网工作切换过群中会产生逆变器与电网之间的环流,对没备造成冲击,这样会缩短设备使用寿命,严重时还会造成设备的损坏。
TI公司生产的高速数字信号处理器TMS320C2000系列,不仅体积小、功耗小、可靠性高,而且内部集成了12路PWM发生器、6路CAPTURE单元电路等外设电路,非常适合于PWM信号的控制及锁相环的数宁实现。本文采用了一种基于DSP芯片TMS320C2407A实现光伏并网系统数字锁相的与法,并给出了实验结果。
1 锁相的原理
锁相环是一个闭环的相位控制系统,能够自动跟踪输入信号的频率和相位。利用锁相环技术可以产生同步于输入信号的整数倍频或分数倍频的输出控制信号。锁相环的基本结构是由签相器(PD)、环路滤波器(LF)、压控振荡器(VC0)和倍频器(MF)等组成,如图l所示。

倍频器实现对输出信号Uo进行整数或分数倍频。鉴相器是用来比较输入信号Ui与倍频器输出的锁相信号Ub之间的相位差,并把该相位差转化为电压信号Ue。环路滤波器通常具有低通特性,作用是滤除电压信号Ue中高频分量与其它噪声信号,产生稳定的电压控制信号Ue。压控振荡器的振荡频率受电压控制信号Ue的控制,完成电压-频率的变换作用,从而实现锁相。特殊情况,当倍顿器的倍频数为1时,即Ub=Uo,这时实际上实现了输出信号Uo与输入信号Ui之间的直接锁相。
一般来说,锁相可分为模拟锁相和数字锁相两种。衡量锁相性能的三个技术指标是锁相范围、锁相速度和稳定性。传统的模拟锁相电路复杂,器件参数需要调整,存在温度漂移,精度不高。而采用数字锁相方法,可有效消除模拟方法的缺点,同时具有控制灵活,装置升级方便,可在线修改与调试,可靠性高,维护便利等优点,是PLL技术发展的趋势。
2 数字锁相的设计与实现
本文数字锁相的设计方案是:首先运用2路CAPTURE单元分别捕获计算电网电压和逆变器输出电流的频率和相位,根据计算结果调节相应SPWM载波频率和初始相位,从而实现光伏逆变系统输出电流对电网电压的频率及相位的跟踪。
2.1 同步信号的检测与捕获
同步信号的检测分为电网电压与逆变输出电流的检测。电网电压频率和相位的检测如图2所示。

电网电压先经过采样变压器采样,冉把采样电压送到过零比较器进行过零检测,得到与电网电压同频同相的方波信号,然后进行光耦隔离,并限压在33V以下,滤去高频干扰,较后送给DSP的CAP4端口。电网电压和输入到CAP4中的电网过零信号如图3所示。逆变电流的检测与电网电压采样相同,逆变电流信号送给DSP的CAP5端口。

DSP捕获单元的作用是捕获引脚上电平的变化,并记录电平发生变化的时刻。本文中,CAP4和CAP5均设置为检测到上升沿有效。由于CAP输入信号是方波信号,因此两个相邻上升沿之间的间隔恰好是一个周期,同时上升沿发生的时刻就是采样信号从负到正的过零点,从而实现对电网电压和输出电流频率和相位的检测。
2.2 SPWM波的产生机理
SPWM波是用正弦波与三角载波相互比较而产生的脉冲宽度与正弦波幅值成正比的方波信号,通常的硬件方法是直接将正弦与三角这两种波输入到一个由运放所构成的比较器电路进行比较而实现的。采用DSP芯片TMS320LF2407A,用软件方法产生SPWM波的机理与传统的硬件方法不同。
在DSP芯片中,PWM信号的产生主要通过通用定时器的周期寄存器和相关比较寄存器的匹配来实现的。周期寄存器装载着给定三角波周期相应的计数值,比较寄存器装载着正弦波离散化后的各个比较点的幅值。设定定时器为连续增/减计数模式,当定时器的计数值与比较寄存器中的值相等时发生比较匹配,这样在一个三角载波周期中会发生两次匹配。在上述两次匹配时,相应引脚的输出电平发生翻转。从而得到宽度不等的PWM波。
2.3 数字锁相与软件流程图
数字锁相的目标是使输出电流与电网电压同频同相,也即让逆变电流去跟踪电网电压的变化。输出电流频率是通过调整产生SPWM的三角载波频率而实现的,若电流频率小于电网频率,则应减小发生SPWM信号的相关定时器周期寄存器的值,从而通过提高三角载波频率来实现输出电流领率与电网电压频率相同,反之亦然。输出电流相位是通过调整产生SPWM信号正弦波离散值中的第一个点发生的时刻而实现的,当捕获到电网电压的过零点时,立即调整相应比较寄存器中正弦波离散值的指针,并作一定的时间补偿。
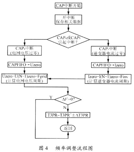
频率调整的软件流程框图如图4所示。

频率调整的过程是,当捕获到上升沿产生中断时,进入中断服务程序,先保护现场,再判断中断源是CAP4还是CAP5。若是CAP4,则说明产生中断的时刻是电网电压的过零点。将捕获值存入Uzero寄存器,再减去上一次的捕获值,两者的差值正好是电网电压的周期。然后拿该周期与当前逆变电流周期作比较,倘若两者无差值,则返回;若有误差,则对周期寄存器作相应的调整。
相位调整的软件流程框图如图5所示。相位调整的过程是,将当前电网电压与逆变电流两者捕获的过零值作比较,得到相位差。若相位差小于等于允许值,则说明两者已同相;若相位差大于允许值,则作PI调节,然后再判正弦计数值有无大于限制值,若无,则直接把相邻两次的差值作为调整量;若大于限制值,则只凋整限制值,在下一中断时,再作进一步的调整。

本文采用载波比N=400的SPWM同步调制技术,DSP芯片的CLOCK为40MHz(即周期25ns),三角载波较小计数单位为l,基波频率为50Hz(即周期20ms),因而正弦波的较小相位差为:400×2×25ns=20μs,(20μs/20ms)×360°=0.36°。即数字锁相精度为:O.36°/360°=0.1%锁相过程实验波形如图6所示。

3 实验结果
光伏并网发电实验装置中Boost升压(55V/168V)电路、全桥逆变器和升压变压器(95V/220V)组成,光伏较大功率点工作电压为55V,负载为电阻负载。数字锁相系统主要通过对DSP芯片的编程来实现。图6为锁相过程的实验波形图,从图中可看出,光伏逆变器输出电流经调整后与电网电压同频同相,数字锁相环正常正作。
4 结语
本文所研究的基于DSP的光伏逆变系统数字锁相技术,锁相精度高,易于实现,不但能很好地满足光伏系统并网的要求,而且实现了输出端的功率因数校正控制。实验结果验证了本方法的可行性和有效性。
相关阅读:
- ...2012/04/23 12:22·基于DSP的中频电源测试系统设计
- ...2012/03/06 19:39·基于DSP的快速轴角变换方法
- ...2012/02/03 11:32·基于DSP的双频超声波流量计硬件电路设计
- ...2011/11/30 17:24·基于DSP双路音频信号实时处理系统设计
- ...2011/11/14 10:31·基于DC/DC的大电流升压电路方案
- ...2011/10/31 16:02·基于DSP的声雷达信号采集系统
- ...· Efinix® 全力驱动AI边缘计算,成功推出Trion™ T20 FPGA样品, 同时将产品扩展到二十万逻辑单元的T200 FPGA
- ...· 英飞凌亮相进博会,引领智慧新生活
- ...· 三电产品开发及测试研讨会北汽新能源专场成功举行
- ...· Manz亚智科技跨入半导体领域 为面板级扇出型封装提供化学湿制程、涂布及激光应用等生产设备解决方案
- ...· 中电瑞华BITRODE动力电池测试系统顺利交付北汽新能源
- ...· 中电瑞华FTF系列电池测试系统中标北京新能源汽车股份有限公司
- ...· 中电瑞华大功率高压能源反馈式负载系统成功交付中电熊猫
- ...· 中电瑞华国际在电动汽车及关键部件测评研讨会上演绎先进测评技术
- ...· 华芯微国产汽车芯片门电路系列(篇一)
- ...· 华芯微国产汽车芯片CAN收发器系列(篇一)
- ...· 华芯微国产汽车芯片DC/DC转换器系列
- ...· 华芯微国产汽车芯片DC/DC转换器系列
- ...· 华芯微国产汽车芯片运算放大器系列(篇一)
- ...· 华芯微国产汽车芯片MOSFET 驱动器系列(篇一)
- ...· 数据采集终端系统设备
- ...· 简仪科技踏上新征程








